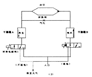
活性氧化鋁吸附器最簡單形式是由兩只填充著活性氧化鋁吸附劑的干燥罐及輔助設備(兩個轉換電磁閥、轉換閥、氣孔等)所組成。其動作過程如圖2所示。

在圖2中,由氣水分離器出來的壓縮濕空氣,從入口進去,經轉換電磁閥1到干燥罐A,氣體中的水分子被罐A內再生好了的活性氧化鋁吸附而成為干燥的氣體。干燥的氣體從罐A出來經轉換閥由出口送出。與此同時,有少部分干燥氣體通過氣孔而被減壓,進一步增加氣體的干燥度,然后進入干燥罐B,對罐B內已完成吸水工作而處于吸濕飽和狀態(tài)的活性氧化鋁進行吹洗再生。從罐B內出來的潮氣經轉換電磁閥2排到大氣中。圖2表示與相反地動作過程。罐內活性氧化鋁的吸水及再生,每隔一定時間轉換一次,如此交替動作下去,不斷地將干燥氣體送至儲存罐。兩只干燥罐的交替動作通過可編程序控制器的控制轉換電磁閥來實現自動控制的。
公司首頁 |
關于我們 |
廠家圖片 |
活性氧化鋁系列 |
分子篩系列 |
空分耐水硅膠 |
產品應用 |
行業(yè)資訊 |
產品知識 |
聯系我們
版權所有:河南銘澤環(huán)保科技有限公司 全國銷售電話:0371-69577077 傳真:0371-69577890
地址:河南省鞏義市涉村工業(yè)區(qū) 郵編:451200 聯系人:丁經理 手機:18638653900 郵箱:[email protected]
河南銘澤致力于活性氧化鋁干燥劑,活性氧化鋁球,的活性氧化鋁生產廠家!